-4.8 C
Москва
Вторник, 20 января, 2026

Дёшево и просто: Porsche патентует компактную регулируемую рессорную подвеску

ТОП ЗА НЕДЕЛЮ

Компания Porsche продолжает патентовать нестандартные технические решения которые могут пригодиться ей в будущем: на днях в в электронной базе WIPO (Всемирная организация интеллектуальной собственности) всплыла заявка на независимую подвеску колёс автомобиля, в которой в качестве упругого элемента используется композитная рессора.

Рессорная подвеска на легковых автомобилях сегодня считается анахронизмом либо экзотикой, но её компактность по-прежнему манит конструкторов. Поперечная композитная рессора встречается в ряде современных моделей Volvo и использовалась на переднемоторных Chevrolet Corvette. В своём классическом виде рессорная подвеска по-прежнему широко применяется на лёгких коммерческих автомобилях (пикапах и фургонах), но вот рессоры на Porsche — это, конечно, разрыв шаблона.

Сразу скажем, что большинство патентных заявок в WIPO никогда не находят своё коммерческое применения и регистрируются, что называется, на всякий случай, но тем не менее всегда есть шанс, что одно из таких изобретений появится на серийных машинах.

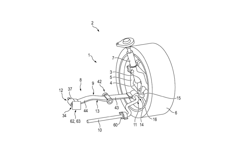
Перспективную рессорную подвеску для Porsche разработал инженер по имени Фрик Ондрей (заявка 102024117824), на схемах представлены несколько вариантов её исполнения, но целом её можно считать вариацией на тему подвески McPherson, в которой роль основного жёсткого нижнего рычага выполняет короткая гибкая композитная листовая рессора (одна или несколько), а амортизатор встроен в узел крепления рессоры со стороны колеса, благодаря чему можно максимально уменьшить высоту подвески. Второй нижний рычаг представляет собой стабилизатор поперечной устойчивости, то есть торсион с несколькими точками опоры.

Рычаг-рессора может иметь промежуточное звено между основными узлами крепления, оно нужно для регулировки жёсткости рессоры и может быть снабжено электрическим или гидравлическим актуатором. Крепление рессоры со стороны кузова может иметь регулировку по высоте с электрическим или гидравлическим актуатором. Конструкция подвески подходит как для задних, так и для передних колёс, то есть может быть снабжена рулевым механизмом, причём разработчик утверждает, что отказ от пружин позволит существенно сократить радиус разворота автомобиля. Одни из вариантов конструкции предполагает наличие второй дугообразной рессоры, уходящей вверх и крепящейся в верхней части к кузову либо подрамнику.

Компактность подвески позволяет в теории сделать капот автомобиля ниже и улучшить безопасность пешеходов при столкновении, при этом она сохраняет возможность регулировки высоты и жёсткости, как у более сложных и дорогих пневматических и гидропневматических подвесок. Также новая рессорная подвеска хорошо совместима с мотор-колёсами электромобилей, но мотор-колёса пока так и не получили широкого распространения.

О недостатках новой подвески в заявке ничего не сказано, но они наверняка есть. Первое, что приходит в голову, это нестабильность геометрии из-за гибкости рессоры, заменяющей жёсткий рычаг, — правильно настроить такую подвеску и добиться от неё предсказуемого поведения, особенно при высоких скоростях, будет непросто. Слишком малая длина рессоры ограничивает возможности настройки её характеристик — есть сомнения, что такая рессора сможет успешно заменить пружину. Но в целом конструкция, конечно, интересная — быть может, когда-нибудь мы увидим её на спорткарах Porsche.

НОВОЕ НА САЙТЕ

Яндекс.Метрика